हम प्रदर्शन, सुरक्षित ऑपरेशन विधियों, और KYN28-12 मध्यम-वोल्टेज स्विचगियर के तकनीकी पैरामीटर प्रस्तुत करेंगे

पर्यावरणीय स्थितियों का उपयोग करें
हवा का तापमान: ऊपरी सीमा 40 से कम सीमा-सामान्य क्षेत्रों में 10 डिग्री तक:
ऊंचाई: 1000 मीटर;
आर्द्रता:
सापेक्ष आर्द्रता: दैनिक औसत 95% से अधिक नहीं है, और मासिक औसत 90% से अधिक नहीं है;
जल वाष्प दबावः दैनिक औसत 2.2kpa से अधिक नहीं है, और मासिक औसत 1.8kpa से अधिक नहीं है
संघनन तब हो सकता है जब तापमान, गंदगी के साथ, और यह उत्पाद दो पर्यावरणीय स्थितियों के लिए उपयुक्त है जो निम्नलिखित सामान्य स्थितियों की तुलना में कठोर हैं।:
(1) । हल्के गंदगी के साथ कम (औसत महीने में दो बार से अधिक नहीं);
(2) । आमतौर पर गंभीर प्रदूषण के साथ कोई संघनन (औसत वर्ष में दो बार से अधिक नहीं);
• कोई आग, विस्फोट के खतरे और गंभीर प्रदूषण नहीं हैं जो धातु और क्षति इन्सुलेशन और अन्य कठोर स्थानों को संक्षारक करने के लिए पर्याप्त हैं;
80 से अधिक के कोई हिंसक कंपन, गांठ और ऊर्ध्वाधर झुकाव नहीं हैं;
नोटः (1) भंडारण और परिवहन की अनुमति है
(2) जब ऊंचाई 1000 मीटर से अधिक है, तो इसे "उच्च वोल्टेज विद्युत उपकरणों के उपयोग के लिए ऊंचाई वाले क्षेत्रों के लिए तकनीकी आवश्यकताओं" के अनुसार नियंत्रित किया जाएगा; जब ऊंचाई 2000 मीटर से अधिक नहीं होती है, तो कम दबाव सहायक उपकरण को किसी भी उपाय करने की आवश्यकता नहीं होती है;
(3) जब उपयोग की वास्तविक शर्तें उपरोक्त से भिन्न होती हैं, तो यह उपयोगकर्ता और निर्माता के बीच बातचीत की जानी चाहिए।
मॉडल और अर्थ
K y n 28 - 12/□ - □
पाललोगों की रेटिंगब्रेकिंग शॉर्ट सर्किट करंट (का)
पाललोगों की रेटिंगवर्तमान (ए)
पाललोगों की रेटिंग वोल्टेज (kv) ।
└─डिजाइन सीरियल नंबर
└─अंदर
└─टाइप करें
पाललोगों धातु कवच
स्विचगियर की संरचना का योजनाबद्ध आरेख
आकृति 1

ए। सर्किट ब्रेकर डिब्बे बी. बबर डिब्बे
सी। केबल रूम डी रिले इंस्ट्रूमेंट रूम
1. बबर 2. स्थिर संपर्क डिस्क 3. सर्किट ब्रेकर
4. ग्राउंडिंग स्विच 5. वर्तमान ट्रांसफार्मर
6. कैपेसिटिव वोल्टेज डिवाइडर 7. बिजली गिरफ्तारी
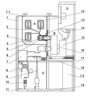
स्विचगियर संरचना का योजनाबद्ध आरेख

1. आवास 2. शाखा छोटे बबबर 3. बबर आस्तीन 4. मुख्य बबर
स्थिर संपर्क उपकरण 6. स्थिर संपर्क बॉक्स 7. वर्तमान ट्रांसफार्मर
8. ग्राउंडिंग स्विच 9. केबल 10. उछाल गिरफ्तारी मुख्य बस को टक्कर
12. लोड और अलग विभाजन 13. 14. विभाजन (फ्लैप) द्वितीयक प्लग
15. सर्किट ब्रेकर हैंडकार्ट 16 । 17. हीटर डिवाइस क्षैतिज विभाजन निकालने
18. 19. ग्राउंडिंग स्विच ऑपरेटिंग सिस्टम बेस प्लेट
ए ए.बबर रूम बी सर्किट ब्रेकर हैंडकार्ट रूम सी। केबल रूम डी रिले इंस्ट्रूमेंट रूम
1.1. दबाव राहत उपकरण 1.2 छोटे चककिंग नियंत्रण
मानकों को पूरा करें
उत्पाद निम्नलिखित मानकों को पूरा करता है:
1.IEC-298
2.GB3906-1991
3.DLT404-19974 जीबी/T11022-1999
प्राथमिक वायरिंग योजना
| योजना संख्या | 001 | 002 | 003 | 004 | 005 | |
प्राथमिक मार्ग आरेख |
| |||||
| वर्तमान ((क) । | 630-4000 | |||||
एक समय मेजबान चाहत बिजली बर्तन युआन मद | वैक्यूम सर्किट ब्रेकर | 1 | 1 | 1 | 1 | 1 |
| वर्तमान ट्रांसफार्मर LZZBJ9-12 | 2 | 2 | 2 | 3 | 3 | |
| वोल्टेज ट्रांसफार्मर rzl/rel | ||||||
| उच्च दबाव ब्रेकर (xrnp) | ||||||
| ग्राउंडिंग स्विच (e6/JN15-12) | 1 | 1 | 1 | |||
| रेस्टर HY5WZ-17/45 | 3 | |||||
| प्रयोग करना | शक्ति प्राप्त करना और भोजन शक्ति | शक्ति प्राप्त करना और भोजन शक्ति | शक्ति प्राप्त करना और भोजन शक्ति | शक्ति प्राप्त करना और भोजन शक्ति | शक्ति प्राप्त करना और भोजन शक्ति | |
| योजना संख्या | 006 | 007 | 008 | 009 | 010 | |
प्राथमिक मार्ग आरेख |
| |||||
| वर्तमान ((क) । | 630-4000 | |||||
एक समय मेजबान चाहत बिजली बर्तन युआन मद | वैक्यूम सर्किट ब्रेकर | 1 | 1 | 1 | 1 | 1 |
| वर्तमान ट्रांसफार्मर LZZBJ9-12 | 3 | 2 | 2 | 2 | 2 | |
| वोल्टेज ट्रांसफार्मर rzl/rel | ||||||
| उच्च दबाव ब्रेकर (xrnp □) | ||||||
| ग्राउंडिंग स्विच (e6/JN15-12) | 1 | 1 | 1 | |||
| रेस्टर HY5WZ-17/45 | 3 | |||||
| प्रयोग करना | खाना | संपर्क (दाएं) | संपर्क (दाएं) | संपर्क (बाएं) | संपर्क (बाएं) | |
| योजना संख्या | 011 | 012 | 013 | 014 | 015 | |
प्राथमिक मार्ग आरेख |
| |||||
| वर्तमान ((क) । | 630-4000 | |||||
एक समय मेजबान चाहत बिजली बर्तन युआन मद | वैक्यूम सर्किट ब्रेकर | 1 | 1 | 1 | 1 | 1 |
| वर्तमान ट्रांसफार्मर LZZBJ9-12 | 3 | 3 | 2 | 2 | 2 | |
| वोल्टेज ट्रांसफार्मर rzl/rel | ||||||
| उच्च दबाव ब्रेकर (xrnp) | ||||||
| ग्राउंडिंग स्विच (e6/JN15-12) | 1 | 1 | 1 | |||
| रेस्टर HY5WZ-17/45 | 3 | |||||
| प्रयोग करना | ऊपरी रेखा (सही संपर्क) | ऊपरी रेखा (सही संपर्क) | ओवरहेड प्रवेश और निकास लाइनें | ओवरहेड प्रवेश और निकास लाइनें | ओवरहेड प्रवेश और निकास लाइनें | |
| योजना संख्या | 016 | 017 | 018 | 019 | 020 | |
प्राथमिक मार्ग आरेख |
| |||||
| वर्तमान ((क) । | 630-4000 | |||||
एक समय मेजबान चाहत बिजली बर्तन युआन मद | वैक्यूम सर्किट ब्रेकर | |||||
| वर्तमान ट्रांसफार्मर LZZBJ9-12 | ||||||
| वोल्टेज ट्रांसफार्मर rzl/rel | /3 | 2/ | /3 | 2/ | /2 | |
| उच्च दबाव ब्रेकर (xrnp) | 3 | 3 | 3 | 3 | 3 | |
| ग्राउंडिंग स्विच (e6/JN15-12) | ||||||
| रेस्टर HY5WZ-17/45 | 3 | 3 | 3 | |||
| प्रयोग करना | वोल्टेज माप वृद्धि गिरफ्तारी | वोल्टेज माप वृद्धि गिरफ्तारी | वोल्टेज माप वृद्धि गिरफ्तारी | वोल्टेज माप (बाएं लिंक) | वोल्टेज माप (सही लिंक) | |
| योजना संख्या | 021 | 022 | 023 | 024 | 025 | |
प्राथमिक मार्ग आरेख |
| |||||
| वर्तमान ((क) । | 630-4000 | |||||
एक समय मेजबान चाहत बिजली बर्तन युआन मद | वैक्यूम सर्किट ब्रेकर | |||||
| वर्तमान ट्रांसफार्मर LZZBJ9-12 | 2 | 2 | 3 | 3 | 2 | |
| वोल्टेज ट्रांसफार्मर rzl/rel | 2/ | 2/ | 2/ | 2/ | /3 | |
| उच्च दबाव ब्रेकर (xrnp) | 3 | 3 | 3 | 3 | 3 | |
| ग्राउंडिंग स्विच (e6/JN15-12) | ||||||
| रेस्टर HY5WZ-17/45 | ||||||
| प्रयोग करना | सही युग्मांकन | बायाँ माप | बायाँ माप | सही युग्मांकन | बायाँ माप | |
| योजना संख्या | 026 | 027 | 028 | 029 | 030 | |
प्राथमिक मार्ग आरेख |
| |||||
| वर्तमान ((क) । | 630-4000 | |||||
एक समय मेजबान चाहत बिजली बर्तन युआन मद | वैक्यूम सर्किट ब्रेकर | 1 | ||||
| वर्तमान ट्रांसफार्मर LZZBJ9-12 | 3 | संधारित्र bm12.7-16-1 3 | ||||
| वोल्टेज ट्रांसफार्मर rzl/rel | /3 | 1 ट्रांसफार्मर | /4 | /4 | ||
| उच्च दबाव ब्रेकर (xrnp) | 3 | 3 | (3) | 3 | 3 | |
| ग्राउंडिंग स्विच (e6/JN15-12) | 1 | 1 | 1 | |||
| रेस्टर HY5WZ-17/45 | 3 | 3 | 3 | |||
| प्रयोग करना | आने वाली मीटरिंग | उपयोग किए जाने वाले ट्रांसफार्मर कैबिनेट की चौड़ाई निर्धारित की जाती है) | संधारित्र अलमारियाँ | वोल्टेज माप वृद्धि गिरफ्तारी | वोल्टेज माप वृद्धि गिरफ्तारी | |

◆एक हैंडकार्ट हैंडकार्ट कंकाल पतली स्टील प्लेटों से बना होता है जो cnc मशीन टूल द्वारा संसाधित और फिर रिसेट और वेल्डेड होता है। आवेदन के अनुसार, हैंडकार्ट को सर्किट ब्रेकर हैंडकार्ट, वोल्टेज ट्रांसफार्मर हैंडकार्ट, आइसोलेशन हैंडकार्ट, मीटरिंग हैंडकार्ट और एक ही विनिर्देश के अन्य हैंडकार्ट्स में विभाजित किया जा सकता है, जो इंटरचेंजिबिलिटी के लिए सुविधाजनक हैं। हैंडकार्ट में एक अलगाव स्थिति, एक परीक्षण स्थिति और कैबिनेट में एक कार्य स्थिति है, और प्रत्येक स्थिति यह सुनिश्चित करने के लिए एक स्थिति उपकरण से सुसज्जित है कि हैंडकार्ट को आकस्मिक रूप से स्थानांतरित नहीं किया जा सकता है, और हैंडकार्ट को स्थानांतरित होने पर इंटरलॉक जारी किया जाना चाहिए। |
|
◆बी बबार बस एक स्विच कैबिनेट से दूसरे स्विच कैबिनेट और एक स्थिर संपर्क ट्रे के माध्यम से जाता है। फ्लैट शाखा बस को स्थिर संपर्क ट्रे और मुख्य बस में बोल्ट किया जाता है, बिना किसी अतिरिक्त क्लैंप या ब्रेकआउट कनेक्शन की आवश्यकता के बिना। जब उपयोगकर्ता और परियोजना की विशेष आवश्यकता होती है, तो बुबार पर कनेक्टिंग बोल्ट को इन्सुलेशन और अंत कैप के साथ एन्कैप्सुलेट किया जा सकता है। जब बुबार स्विचगियर विभाजन को पार करता है, तो यह एक बुबार आस्तीन के साथ तय किया जाता है। यदि एक आंतरिक दोष चाप है, तो यह दुर्घटना के प्रसार को आसन्न कैबिनेट तक सीमित कर सकता है और बुबार की यांत्रिक शक्ति सुनिश्चित कर सकता है। |
|
◆सी केबल रूम वर्तमान ट्रांसफार्मर, ग्राउंडिंग स्विच, बिजली बकाया और केबल कमरे में स्थापित किए जा सकते हैं, और हटाने योग्य एल्यूमीनियम प्लेटों को केबल कमरे के तल पर तैयार किया जाता है ताकि साइट निर्माण की सुविधा सुनिश्चित हो सके। |
|
◆डी रिले इंस्ट्रूमेंट रूम रिले इंस्ट्रूमेंट रूम का उपयोग विभिन्न रिले, उपकरण, सिग्नल संकेत, ऑपरेशन स्विच और अन्य घटकों को स्थापित करने के लिए किया जाता है। इसके अलावा, उपयोगकर्ता आवश्यकताओं के अनुसार उपकरण कक्ष के शीर्ष पर एक छोटे से बुबार कमरे को जोड़ा जा सकता है, और एक 16-तरफा नियंत्रण बस रखा जा सकता है। |
|
◆लॉक संरचना मध्य द्वार और कैबिनेट के बीच संबंध एक लॉक संरचना को अपनाता है, और मध्य द्वार को खोलने के लिए अधिक सुविधाजनक बनाने के लिए एक उठाने की व्यवस्था से सुसज्जित है, और जब मध्य दरवाजा बंद हो जाता है, इसके और कैबिनेट के बीच संबंध मजबूत है, जो आंतरिक आर्क दहन दोष का प्रभावी ढंग से विरोध करने की क्षमता को बढ़ाता है। |
|
◆डी रिले इंस्ट्रूमेंट रूम का दरवाजा बंद है, और इंस्ट्रूमेंट रूम सामने के दृश्य में है। | ◆दबाव राहत उपकरण जब सर्किट ब्रेकर या मुख्य बबर, केबल रूम में एक आंतरिक दोष चाप होता है, बिजली की उपस्थिति के साथ, स्विचगियर के अंदर हवा का दबाव बढ़ता है, और एक निश्चित दबाव तक पहुंचने के बाद, शीर्ष डिवाइस की दबाव रिलीज धातु प्लेट स्वचालित रूप से ऑपरेटर और स्विचगियर की सुरक्षा सुनिश्चित करने के लिए दबाव और निर्वहन गैस छोड़ने के लिए स्वचालित रूप से खोला जाएगा। |