हम ट्रांसफार्मर के प्रदर्शन, सुरक्षित संचालन विधियों और ट्रांसफार्मर के तकनीकी मापदंडों को प्रस्तुत करेंगे: s9 \ 13 तरल भरे ट्रांसफार्मर

यह मैनुअल हमारी कंपनी द्वारा उत्पादित पूरी तरह से सील किए गए तेल-विसर्जित पावर ट्रांसफार्मर पर लागू होता है, जिसकी रेटेड क्षमता 3150kva और उससे नीचे की श्रेणी और 35kv और उससे नीचे का वोल्टेज स्तर है।
1. Uses and characteristics
सामान्य बिजली ट्रांस फ ार् मर के लिए उपयुक्त होने के अलावा , पूरी तरह से सी ल किए गए तेल - नि हित ट्रांस फ ार् मर विशेष रूप से पेट ्रो के मिक ल , धातु विज्ञान , व स्त्र , हल्के उद्योग , और उद्यम ों , खान ों और ग्रामीण क्षेत्रों के लिए उपयुक्त हैं जिसमें उच्च आर् द्र ता और अस ु विधा जनक रख रख ाव है ।
यह उत्पाद तेल भंडारण कैबिनेट और नमी अवशोषक जैसे तेल संरक्षण उपकरण को रद्द करता है ताकि यह सुनिश्चित किया जा सके कि ट्रांसफार्मर तेल हवा के संपर्क में नहीं आता है, सभी सील उत्कृष्ट विशेष रबर के साथ सील किए जाते हैं, वैक्यूम तेल इंजेक्शन का उपयोग करते हैं, सामान्य परिस्थितियों में, ट्रांसफार्मर का उपयोग बिना किसी उपचार के 20 वर्षों तक लगातार किया जा सकता है, कम रखरखाव लागत इस उत्पाद की मुख्य विशेषता है, और ऑपरेशन विश्वसनीयता बढ़ जाती है, सेवा जीवन बढ़ाया जाता है।
2. Model description
एस□-M-□ □
एस - three phases
□ - Performance Level Code (11, 13, 20)
M – sealed
□ – Rated capacity (kVA)
□ – High Voltage Voltage Level (10kV)
3. Transportation
1.परिवहन और स्थापना के दौरान, ट्रांसफार्मर को उठाते समय, ट्रांसफार्मर के अंतिम असेंबली के बाद ट्रांसफार्मर के कुल वजन को सहन करने के लिए ईंधन टैंक पर चार क्रेन का उपयोग एक ही समय में किया जाना चाहिए ट्रांसफार्मर तेल की मात्रा से भरा है।यदि इस आवश्यकता को पूरा नहीं किया जा सकता है, तो एक विशेष बीम लिफ्टिंग ट्रांसफार्मर का उपयोग किया जाना चाहिए।
2.इस उत्पाद के फास्टनिंग भागों को विश्वसनीय फास्टनिंग सुनिश्चित करने के लिए सभी ढीला नट हैं।हालांकि, परिवहन के दौरान, यह सुनिश्चित करना अभी भी आवश्यक है कि ट्रांसफार्मर में पर्याप्त स्थिरता है, और ट्रांसफार्मर की ढलान 15 डिग्री से अधिक नहीं होनी चाहिए।जब उठते हैं, तो इसे धीरे-धीरे उठाया और जारी किया जाना चाहिए, और कोई उठाने के उपकरण की स्थिति में, हिंसक कंपन को रोकने के लिए जमीन धीरे-धीरे आगे बढ़नी चाहिए।
4. Acceptance and storage
1.ट्रांसफार्मर प्राप्त करने के बाद, उपयोगकर्ता को तुरंत नाम प्लेट के अनुसार उत्पाद मॉडल और प्राप्त विनिर्देशों की जांच करनी चाहिए, क्या विनिर्देश आदेश अनुबंध के अनुरूप हैं, और फिर सावधानीपूर्वक जांचें कि क्या ट्रांसफार्मर के प्रत्येक भाग को नुकसान है, क्या कमजोर भागों, जैसे कि सिग्नल थर्मोमीटर, आवरण आदि क्षतिग्रस्त हैं, और क्या सिग्नल थर्मोमीटर नशा सपाट और टूट गया है।पोर्सिलीन आस्तीन की अखंडता पर विशेष ध्यान दिया जाना चाहिए, जिसे इस बात के आधार पर निर्णय लिया जाता है कि क्या आवरण में तेल रिसाव है, और जांच करें कि क्या ट्रांसफार्मर के प्रत्येक सीलिंग भाग में तेल रिसाव या तेल रिसाव है।
2.यदि ट्रांसफार्मर स्थापित नहीं किया जाता है और तुरंत ऑपरेशन में रखा जाता है और लंबे समय तक संग्रहीत करने की आवश्यकता होती है, तो सभी सील को सील किया जाना चाहिए, स्पेयर पार्ट्स को ठीक से संग्रहीत किया जाना चाहिए, और भंडारण स्थिति की नियमित रूप से जांच की जानी चाहिए।
5. Installation and maintenance of transformers
1. Installation of transformers
1.1 उपयोगकर्ता ट्रांसफार्मर को निर्दिष्ट स्थापना स्थिति में सुचारू रूप से परिवहन करने के लिए एक फोर्कलिफ्ट या अन्य हैंडलिंग उपकरणों का उपयोग करता है।
1.2 ध्यान रखें कि स्थापना के दौरान आवरण और अन्य पहनने वाले हिस्सों को नुकसान न दें, और ईंधन टैंक को खरोंच न करें या पेंट फिल्म को खरोंच न करें।
2. Inspection and judgment criteria before the transformer is put into operation
2.1 पूरी तरह से सील किए गए तेल-विसर्जित पावर ट्रांसफार्मर को उपयोगकर्ता के पास ले जाने के बाद, कोर की जांच करने की कोई आवश्यकता नहीं है।
2.2 ट्रांसफार्मर का परीक्षण "विद्युत स्थापना इंजीनियरिंग में विद्युत उपकरणों के हैंडओवर के लिए परीक्षण मानक" के अनुसार किया जाना चाहिए।
2.2.1 वाइंडिंग और आस्तीन के डीसी प्रतिरोध को मापते हैं, और एक ही तापमान पर कारखाने मापा मूल्य की तुलना में 2% से अधिक नहीं होना चाहिए।
2.2.2 Check the changes of all taps and there should be no significant difference compared with the factory data.
2.2.3 Check whether the coupling group designation of the transformer is consistent with the nameplate mark.
2.2.4 इन्सुलेशन प्रतिरोध मूल्य एक ही तापमान पर कारखाने मूल्य के करीब होना चाहिए, और तालिका 1 में मूल्य से कम नहीं होना चाहिए।
Table 1 Insulation resistance value (MΩ)
temperature
| 20 | 30 | 40 | 50 | 60 |
<6 | 400 | 200 | 100 | 50 | 25 |
6 or more but less than 20 | 800 | 400 | 200 | 100 | 50 |
20 or more than 60 | 1000 | 500 | 250 | 125 | 65 |
उदाहरण: परीक्षण के दौरान कोइल को मापा जाता है। 2. 2500V मेगायम मीटर या विशेष मीटर का उपयोग करें।
2.2.5 बाहरी निर्माण आवृत्ति वाइंडिंग के वोल्टेज परीक्षण वोल्टेज और आवरण तालिका 2 में दिखाया गया है।
Table 2 Experimental standards for insulation power frequency withstand voltage of high-voltage electrical equipment
रेटेड वोल्टेज (Rated Voltage) (केवी). | 3 | 6 | 10 | 15 | 20 | 35 |
Factory experimental value | 18 | 25 | 35 | 45 | 55 | 85 |
Handover experimental values | 15 | 21 | 30 | 38 | 47 | 72 |
2.2.6 ट्रांसफार्मर तेल के पारंपरिक परीक्षण वस्तुओं का निरीक्षण नए तेल की आवश्यकताओं के अनुसार किया जाता है (संचालन में डालने से पहले), तालिका 3 देखें।
Table 3 Experimental items and standards of transformer oil before putting into operation
सीरियल नंबर | आइटम | New oil in the tank before putting into operation |
1 | appearance | Transparent and free of impurities |
2 | Flash point C (sealed) | 140 |
3 | Moisture mg/1 (ppm). | ≤20 |
4 | Acid value mgKOH/g | <0.03 |
5 | Breakdown voltage केवी (2.5एमएम) oil gap | 35केवी and below: ≥35 |
6 | The medium is lost tangentially tangents by 8% (90°C). | ≤0.7 |
7 | Interfacial tension mN/m (25°C). | ≥35 |
8 | Water-soluble acid (PH). | ≥5.4 |
2.2.7 Oil sample collection method
(1) एसcrub and dry the glass test cup with a diameter of about 80-100एमएम and the syringe barrel of about 100ml.
(2) Unscrew the oil sample valve cover at the bottom of the fuel tank.
(3) Wipe the oil sample valve outlet and vicinity clean with clean paper or cloth.
(4) Align the glass test cup with the valve outlet.
(5)तेल के कप में तेल प्रवाह करने के लिए तेल नमूना वाल्व के बोल्ट को धीरे-धीरे अनस्क्रू करने के लिए एक कुंजी का उपयोग करें, और उसी समय तेल नमूना खींचने के लिए तेल नमूना वाल्व के तेल आउटलेट में सिरिंज सुई डाल दें।
(6) The amount of oil sample is determined by the user according to the needs of the experimental project.
(7) When the oil sample is collected, tighten the oil sample valve bolt and valve cover.
(8)ट्रांसफार्मर बॉक्स कवर के ऊपरी हिस्से पर तेल इंजेक्शन पाइप कवर खोलें, और धीरे-धीरे एक ही मॉडल के ट्रांसफार्मर तेल, एक ही वजन डालें, और तेल इंजेक्शन पाइप में परीक्षण पारित करें, और तेल इंजेक्शन पाइप कवर को कसें, और तेल नमूना और तेल रिपूर्ति प्रक्रिया पूरा हो जाती है।
3. Maintenance of transformers
3.1 पूरी तरह से सील किए गए तेल-डूबे ट्रांसफार्मर के रखरखाव और निरीक्षण मानक तालिका 4 और तालिका 5 में इस प्रकार हैं।
Table 4 Regular inspection standards
सीरियल नंबर | Inspection items | Inspection essentials | Cycle | Judgment criteria | remark |
1 | Insulation resistance | Use a 2500V rocking meter or a measuring instrument with the same effect Measure the phase to the ground | Irregular | 35केवी side: 270MΩ 10केवी side: 200M Ω 1केवी side: 50MΩ | After a serious overvoltage or serious accident, this experiment is carried out |
2 | Insulating oil | Chromatographic analysis | 6 years | GB7252-87 "Guidelines for the Analysis and Judgment of Dissolved Gas in ट्रांसफार्मर Oil" | After a serious overvoltage or serious accident, this experiment is not limited by the period |
3 | thermometer | 1. Internal spot inspection (rust and moisture absorption) 2. Gask condition 3. Temperature indication, indicating action 4. Temperature rating | 2 years | 1. No rust 2. No damage 3. Indicate normal action (gently tap) 4.85°C | |
4 | Oil level gauge | 1. External inspection 2. Whether the oil surface is full of oil | 1 year | 1. No rust, no oil stains on the glass 2. Whether the oil surface line can be seen | There is no oil level gauge This item will not be inspected |
5 | casing | 1. Terminal status 2. एसleeve status 3. Does oil leak? | 2 years | 1. There is no loosening or discoloration 2. There is no damage or defacement 3. No oil leakage or air leakage | If there is any abnormality, it should be dealt with in time |
6 | Grounding wire | Rugged state | 2 years | No loosening, no broken wires | |
7 | pressure release valve | 1. Whether the seal is oily 2. Whether the lead wire connection is firm | 2 years | 1. No oil seepage 2. If there is any abnormality, it should be dealt with in time | If there is leakage Deal with it in a timely manner |
Table 5 Daily inspection standards
सीरियल नंबर | Inspection items | Inspection essentials | Cycle | Judgment criteria | remark |
1 | Body appearance | There is no dirt, cracks or oil seepage | January | There should be no dirt, cracks, oil leakage, etc | If there is any abnormality, it should be dealt with in time |
2 | The sound and odor of the body | Abnormal sounds and smells (hearing, smell) | January | 1. एसounds and vibrations caused by excitation are normal 2. Abnormal sounds such as loosening and discharging of the fastening nut of the conductive part 3. The combustion of insulation will have a special odor | If there is any abnormality, investigate the cause and deal with it in a timely manner |
3 | Body temperature | Whether the temperature rise is normal | January | The load current borne by the transformer is related to the temperature rise of the oil surface | If there is any abnormality, investigate the cause and deal with it in a timely manner |
4 | Body oil surface | Whether the oil surface is normal (oil surface table) | January | The oil should be filled with an oil level gauge | If there is no oil level gauge, no spot inspection can be done |
5 | current | Whether the current exceeds the allowable value and whether the three-phase current is balanced (Aएमएमeter) | January | The current of each phase is roughly balanced within the rated range | If the imbalance is serious, it should be adjusted in time |
3.2 Oil seepage treatment and oil replenishment method
3.2.1 यदि सील पर तेल का अवतल लीक हो जाता है, तो सर्पिल को एक रिंच के साथ कड़ा किया जा सकता है और तेल के दाग को सूखा किया जा सकता है।
3.2.2 If the sealing material causes oil seepage, the seal should be replaced.
3.2.3 Oil seepage in the weld should be dealt with in time.
3.2.4 After oil seepage treatment, the oil replenishment method is the same as point 8 of 2.2.7.
3.2.4.1 तेल रि फ िल िंग राशि ः सामान्य परिस्थित ियों में , ट ैंक से बाहर निक लने वाले तेल की मात्रा छोटी है , इसलिए तेल की भर पा ई की मात्रा ट ैंक के ढ क् कन पर तेल भर ने के अधीन है , और उस समय तेल तापमान और परि वेश के तापमान को अन दे खा किया जा सकता है ।
3.3पूरी तरह से सील ट्रांसफार्मर के वैक्यूम तेल इंजेक्शन का उद्देश्य वैक्यूम स्थितियों के तहत कॉइल में गैस को जितना संभव हो उतना खत्म करना है, ताकि ट्रांसफार्मर तेल कॉइल और इन्सुलेशन सामग्री के अंदर की खाई को भर सके, और इन्सुलेशन प्रदर्शन और ट्रांसफार्मर के सेवा जीवन में सुधार कर सके।क्योंकि तेल रिसाव के कारण तेल की भरपाई की मात्रा बहुत छोटी है, यह कॉइल की पूर्ण शक्ति को प्रभावित नहीं करता है
एज प्रदर्शन (उत्पादक वैक्यूम तेल इंजेक्शन प्रक्रिया में निर्धारित करता है: वैक्यूम तेल इंजेक्शन की स्थिति में, तेल को बॉक्स के ढक्कन से लगभग 100 मिमी दूर तक इंजेक्शन किया जाता है, और फिर तेल इंजेक्शन बंद हो जाता है, लेकिन वैक्यूम 1 घंटे के लिए जारी रहता है, और फिर तेल को बॉक्स के ढक्कन से तेल इंजेक्शन पाइप से इंजेक्शन किया जाता है ताकि तेल के स्तर को तेल इंजेक्शन पाइप के शीर्ष तक बढ़ सके)।
6. Permitted operation mode
1. Rated operation mode
1.1 ट्रांसफार्मर को तापमान सुरक्षा रिले से लैस किया जाना चाहिए, जिसे निर्दिष्ट शीतलन स्थितियों के तहत नेमप्लेट विनिर्देशों के अनुसार संचालित किया जा सकता है।
1.2ट्रांसफार्मर के संचालन के दौरान अनुमत तापमान ऊपरी तेल तापमान वृद्धि के अनुसार जांच की जाती है, और ऊपरी तेल तापमान वृद्धि का अनुमत मूल्य 55 °C है, लेकिन अधिकतम तापमान 95 °C से अधिक नहीं होगा।ट्रांसफार्मर तेल की तेजी से उम्र बढ़ने से बचने के लिए, ऊपरी तेल का तापमान अक्सर 85 °C से अधिक नहीं होना चाहिए।
1.3स्टेप-अप ट्रांसफार्मरों और स्टेप-डाउन ट्रांसफार्मरों का लागू वोल्टेज रेटेड मूल्य से अधिक हो सकता है, लेकिन आम तौर पर रेटेड मूल्य का 5% से अधिक नहीं, कोई फर्क नहीं पड़ता कि वोल्टेज टैप कहां स्थित है, यदि प्राथमिक वोल्टेज लागू किया जाता है, तो यह इसके संबंधित वोल्टेज मूल्य का 5% से अधिक नहीं है, तो ट्रांसफार्मर के माध्यमिक पक्ष में एक रेटेड वर्तमान हो सकता है।
2. Allowable overload
2.1ट्रांसफार्मर सामान्य ओवरलोड और दुर्घटना ओवरलोड के तहत काम कर सकता है।सामान्य ओवरलोड का नियमित रूप से उपयोग किया जा सकता है, और इसके अनुमत मूल्य को ट्रांसफार्मर के लोड वक्र, शीतलन माध्यम के तापमान केंद्र और ओवरलोड से पहले ट्रांसफार्मर के लोड के अनुसार निर्धारित किया जाता है।ओवरलोड केवल दुर्घटना स्थितियों में उपयोग की अनुमति है।उदाहरण के लिए, यदि ऑपरेशन में कई ट्रांसफार्मरों में से एक क्षतिग्रस्त हो गया है और कोई बैकअप ट्रांसफार्मर नहीं है, तो बाकी ट्रांसफार्मरों को दुर्घटना के अधिभार के अनुसार संचालित करने की अनुमति दी जाती है।
2.2 The allowable value of transformer accident overload shall be specified in the following table:
| The ratio of accident overload to rated load | 1.3 | 1.5 | 1.75 | 2.0 | 3.0 |
Allowable duration of overload (minutes) | 120 | 45 | 20 | 10 | 1.5 |
3. Unbalanced current of the allowable short-circuit current.
3.1 ट्रांसफार्मर की शॉर्ट-सर्किट करंट रेट रेट किए गए करंट से 25 गुना से अधिक नहीं होगा, और शॉर्ट-सर्किट वर्तमान समय निम्नलिखित सूत्र के अनुसार गणना किए गए मूल्य से अधिक नहीं होगा:
T=900/K seconds, where K is a multiple of the stable short-circuit current to the rated current.
उन ट्रांसफार्मर के लिए 3.2 जिनके कॉइल y y, n0 के अनुसार जुड़े होते हैं, मध्य रेखा धारा आमतौर पर कम वोल्टेज कॉइल के रेटेड करंट (उपयोगकर्ताओं से विशेष आवश्यकताओं को छोड़कर) से अधिक नहीं 25%
Instruction manual for general components of oil-iएमएमersed power transformers
1. Overview
यह निर्देश मैनुअल हमारे कारखाने द्वारा उत्पादित बिजली ट्रांसफार्मर के सामान्य घटकों के लिए उपयुक्त है, जिसमें आवरण, टैप चेंजर, दबाव रिलीज़ वाल्व, तेल नमूना फ्लैप, थर्मोमीटर सीटें, ग्राउंड बोल्ट और तेल नाली वाल्व शामिल हैं।अन्य मानक घटक निर्देश मैनुअल के साथ होते हैं।
2. Use and maintenance
(1) Instruction manual for transformer bushings of 35 kilovolts and below

आकृति 1

Figure 2 चित्र 3
1.चित्र 1 एक समग्र आ वरण है , जिसका उपयोग 1 हजार वो ल्ट े ज और नीचे के वो ल्ट े ज के लिए किया जाता है , वर्तमान 300 -3 000 A है ।चित्र 2 एक के बल प्रकार के आ स्त ीन है , जिसका उपयोग 10 हजार वो ल्ट े ज के वो ल्ट े ज के लिए किया जाता है , वर्तमान 50 -300 A है ।चित्र 3 35 k V के वो ल्ट े ज और 35 -6 00 A की धारा के साथ एक धा गे दार आ स्त ीन दिखा ता है ।
2. जब ट्रांसफार्मर कारखाने छोड़ देता है, तो आवरण को ट्रांसफार्मर तेल टैंक पर इकट्ठा किया जाता है और ट्रांसफार्मर के साथ उपयोगकर्ता को भेजा जाता है।
3. If you need to disassemble or replace the porcelain type, it should be carried out in the following way.
(1)कंपोजिट आवरण, पहले उठाने वाले शरीर को उठाएं, फिर आवरण के निचले हिस्से का नेतृत्व हटा दें, और अंत में सभी फास्टनिंग नटों को अनस्क्राइक करें, आवरण को हटा दें और प्रतिस्थापन आवरण को बदल दें जिसे स्क्रबड और सूखा गया है।
(2)केबल प्रकार के ढलान के लिए, ढलान को बदलने पर, ढलान को बाहरी रूप से प्रतिस्थापित किया जा सकता है, और जब संयुक्त नट को प्रतिस्थापित किया जाता है, तो संयुक्त को तेल टैंक में फिसलने से रोकने के लिए तांबे के तार या धागा बेल्ट के साथ खींचना चाहिए, और फिर हटा दिया जाना चाहिए, मिट्टी के बर्तन कवर, सीलिंग गैस्केट और दबाव प्लेट, आदि।
4. When installing the casing on the transformer fuel tank, the following matters should be noted:
(1)समग्र आवरण के लिए, तेल रिसाव को रोकने के लिए ट्रांसफार्मर के बॉक्स कवर पर चीनी मिट्टी के बर्तन भाग को पूरी तरह से क्लैप करने के लिए, आवरण के ऊपरी और निचले भागों को चीनी मिट्टी के बर्तन भाग के नट को कसने के लिए कसना चाहिए।
(2) केबल प्रकार आवरण के लिए, जो आवरण को ठीक करता है, आवरण को ठीक करता है, और फिर संवहन रॉड को ट्रांसफार्मर तेल टैंक पर मजबूती से स्थापित होने के बाद प्रवाहकीय छड़ तय की जाती है।
5. बारहमासी उपयोग में, मिट्टी के बरतन को धोने से रोकने के लिए मिट्टी की स्थिति के अनुसार बार-बार स्क्रब किया जाना चाहिए।
(2) No excitation tap-changer
हमारी कंपनी द्वारा उत्पादित तीन चरण के तेल-निहित पूरी तरह से सील किए गए बिजली ट्रांसफार्मर आम तौर पर बॉक्स कवर पर डब्लूएसपी प्रकार के नो-लोड टैप-चेंजर से सुसज्जित हैं, ताकि बिजली नहीं होने पर उच्च-वोल्टेज साइड टैप-चेंजर को बदलने के लिए।
1. wspi1 प्रकार की गैर-उत्तेजना तटस्थ बिंदु वोल्टेज नियामक नल-परिवर्तक को चित्र 4 में दिखाया गया है।
2.± 5% वोल्टेज विनियमन रेंज में टैप-चेंजर डायल के डिजिटल संकेत द्वारा संकेतित वोल्टेज मूल्य के लिए: 1 रेटेड वोल्टेज मूल्य के 5% के साथ टैप कनेक्टर को इंगित करता है, 2 रेटेड वोल्टेज मूल्य को इंगित करता है, और 3 रेटेड वोल्टेज मूल्य के -5% के साथ टैप कनेक्टर को इंगित करता है।
3.टैप-चेंजर की स्थिति बदलते समय, आइटम 4 के कवर पर स्क्रू को अनस्क्रू किया जाना चाहिए और हटा दिया जाना चाहिए, आइटम 3 के हैंडल पोजिशनिंग भाग को ग्रोव छेद से बाहर निकाला जाना चाहिए, और फिर आइटम 2 को आवश्यक टैप स्थिति में घुमाया जाता है, और हैंडल पोजिशनिंग भाग को संबंधित ग्रोव छेद में एम्बेड किया जाना चाहिए और एक कवर के साथ कवर किया जाना चाहिए।
4.यदि टैप-चेंजर अक्सर ट्रांसफार्मर की आवश्यकताओं के कारण एक स्थिति में काम करता है, तो संपर्क भाग पर ऑक्सीड फिल्म और तेल के दागों को खत्म करने और अच्छे संपर्क सुनिश्चित करने के लिए, चाहे ट्रांसफार्मर को वोल्टेज बदलने की आवश्यकता हो या नहीं, टैप-चेंजर को साल में कम से कम 10 बार घुमाया जाना चाहिए।यदि वोल्टेज को बदलने की कोई आवश्यकता नहीं है, तो इसे रोटेशन के बाद मूल स्थिति में अभी भी तय किया जाएगा, और टैप स्थिति को बदलना चाहिए और पुल या मल्टीमीटर का उपयोग ऑपरेशन में डालने से पहले मार्ग को मापने के लिए किया जाना चाहिए।
5.यदि ट्रांसफार्मर तेल टैप-चेंजर से बाहर निकलने के लिए पाया जाता है, तो पता लगाएं कि यह कहां से रिसाव करता है।यदि तेल ट्रांसफार्मर ईंधन टैंक कवर और टैप-चेंजर फ्लांज से रिसाव होता है, तो आइटम 6 के फ्लैट नट को तुरंत कसना चाहिए, और यदि शाफ्ट और फ्लांज तेल रिसाव होता है, तो आइटम 5 के नट को कसना चाहिए, लेकिन घूर्णन वाले टॉर्क में अत्यधिक वृद्धि से बचने के लिए इसे बहुत कसकर कस नहीं किया जाना चाहिए।

Figure 4 WएसPIII Type 1 tap-changer
यदि यह मध्य वोल्टेज विनियमन है, तो WPएस II.1 गैर उत्तेजना टैप-चेंजर का उपयोग किया जाता है, और इसका ऑपरेशन और रखरखाव विधि मूल रूप से उपरोक्त के समान है।उपरोक्त के अलावा अन्य गैर-उत्तेजना टैप-चेंजर के लिए, कृपया विवरण के लिए संबंधित टैप-चेंजर मैनुअल का उल्लेख करें।
(3) Pressure release valve
1. उत्पाद Usage and Performance Introduction:
दबाव रिलीज़ वाल्व (इसके बाद रिलीज़ वाल्व के रूप में जाना जाता है) तरल या गैस इन्सुलेट ट्रांसफार्मर, ट्रांसफार्मर, ऑन-लोड टैप-चेंजर, उच्च-वोल्टेज स्विच, कैपेसिटर और ईंधन टैंकों की रक्षा के लिए अन्य उत्पादों के लिए उपयुक्त हैं।
जब ट्रांसफार्मर या ऑन-लोड टैप-चेंजर के अंदर एक दुर्घटना होती है, तो ट्रांसफार्मर का एक हिस्सा गैसकृत हो जाता है, जिससे ट्रांसफार्मर टैंक के अंदर दबाव तेजी से बढ़ जाता है।यदि आप विश्वसनीय सुरक्षा नहीं लेते हैं, तो टैंक विरूपित हो सकता है या यहां तक कि फट सकता है।रिलीज़ वाल्व ट्रांसफॉर्मर टैंक को नुकसान से बचाता है।जब ईंधन टैंक का दबाव रिलीज़ वाल्व के कामकाजी दबाव तक पहुंचता है, तो रिलीज़ वाल्व को समय पर ईंधन टैंक में ओवरप्रशर को रिलीज़ करने के लिए 2 मिलीसेकंड के भीतर खोला जाएगा।
एक बार रिलीज़ वाल्व खोला जाने के बाद, ईंधन टैंक में दबाव ऑपरेटिंग दबाव के लगभग 53-55% तक गिर जाता है, और रिलीज़ वाल्व को विश्वसनीय रूप से बंद किया जा सकता है।रिलीज़ वाल्व का यह विशेष कार्य सुरक्षा ऑब्जेक्ट की विशेष आवश्यकता है, जो ईंधन टैंक को नुकसान से प्रभावी रूप से बचा सकता है।जब टैंक में दबाव फिर से बढ़ता है और ऑपरेटिंग दबाव तक पहुंचता है, तो रिलीज़ वाल्व फिर से कार्य करेगा जब तक कि टैंक में दबाव सामान्य मूल्य तक नहीं गिरता है।जब ट्रांसफार्मर चालू हो जाता है, तो 11 वें सुरक्षा को हटा दिया जाना चाहिए।
क्योंकि रिलीज वाल्व को कार्रवाई के बाद मज़बूती से बंद किया जा सकता है, ईंधन टैंक के बाहर हवा और पानी ईंधन टैंक में प्रवेश नहीं कर सकता है, और ट्रांसफार्मर तेल वातावरण से प्रदूषित नहीं होगा।
2. Model, specifications, and basic parameters
2.1 model
YएसF□-□ □ □
YएसF – Pressure Relief Valve Code
□ - डिजाइन सीरियल नंबर
□ – Turn on the pressure kPa
□ - the effective caliber of the oil injection एमएम
□ - Alarm signal environmental conditions and locking device*
※: 1. Used for mechanical signal mark "J".
2. For use in humid tropical areas, add "TH" after the "J" mark.
3. If a locking device is used, then add "B" after it.
For example: YएसF6-35/25JTHB
यानी, तेल इंजेक्शन व्यास PED25एमएम, उद्घाटन दबाव 35kpa है, एक यांत्रिक अलार्म सिग्नल के साथ, इसका उपयोग नम और गर्म ज़ोन लॉकिंग डिवाइस के लिए किया जाता है, और दबाव रिहाई वाल्व का छठा डिजाइन।
2.1 एसpecifications and basic parameters are shown in Table 1
3. The structure of the structural pressure release valve is shown in Figure 5.
Table 1 एसpecifications and basic parameters
Effective caliber (एमएम) | Turn on the pressure (kPa) | Open pressure limit deviation (kPa). | Turn off the pressure (kPa) | एसealing pressure (kPa) |
φ25 φ50 | 15 | ±5 | 8 | 9 |
25 | 13.5 | 15 | ||
35 | 19 | 21 | ||
55 | 29.5 | 33 |

Fig.5 एसchematic diagram of the structure of the pressure release valve
4. Use
एक लैचिंग डिवाइस के साथ एक रिलीज वाल्व उपकरण चुनें, और उपकरण को संचालन में डालने से पहले लैचिंग पिन को हटाया जाना चाहिए, अन्यथा वाल्व नहीं खोला जा सकता है।
ऑपरेशन के दौरान दबाव रिहाई वाल्व के संचालन के बाद, गलती के पुनः उपयोग के लिए पाया जाने के बाद मार्कर रॉड को रीसेट किया जाना चाहिए। स्थापना के दौरान वाल्व को हटाया नहीं जा सकता है।
दबाव रिहाई वाल्व में तेल रिसाव होता है, और इसे समय पर हल करने के लिए उपाय किए जाने चाहिए, और तेल रिसाव के मुख्य कारण मोटे तौर पर इस प्रकार हैं:
किसी कारण से, ईंधन टैंक में दबाव बहुत अधिक है, जो रिलीज वाल्व के सीलिंग दबाव को पार कर गया है, लेकिन अभी तक शुरुआती दबाव में नहीं पहुंचा है, जिससे रिसाव होता है।
2. वाल्व में कुछ सीलिंग छल्ले वृद्ध और असफल हो गए हैं, और असफल सीलेंट रिंग को समय पर निर्माता के साथ बदल दिया जाना चाहिए।
c. If there is a foreign object on the sealing surface, it can be eliminated in time.
5. Maintenance and overhaul
5.1 वाल्व के निम्नलिखित रखरखाव को पूरा करने के लिए विद्युत उपकरणों के प्रत्येक पावर आउटेज रखरखाव के अवसर का लाभ उठाएं।
a. Whether the opening action is sensitive.
ख. .क्या सीलिंग अंगूठी पुरानी है, विकृत या क्षतिग्रस्त है।यदि कोई असामान्यताएं पाई जाती हैं, तो उन्हें रबर की अंगूठी की उम्र बढ़ने के कारण तेल रिसाव या यहां तक कि रिलीज़ वाल्व की विफलता से बचने के लिए समय पर प्रतिस्थापित किया जाना चाहिए।
c. Clear the foreign body in the valve.
d. Whether the parts are rusted, deformed or damaged.
5.2 The user should prepare several release valves in case of replacement during inspection.
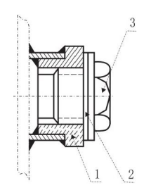
(4) Oil sample flap
यह आम तौर पर तेल के नमूनों के लिए ईंधन टैंक के निचले हिस्से के कम दबाव पक्ष की दिशा में स्थापित किया जाता है।उपयोग करते समय, पहले कवर को अनक्रूज करें, तेल नमूना नशा को नरम संयुक्त 1 पर रखें: फिर धीरे-धीरे प्लग को घुमाएं जब तक तेल कनेक्टर से जारी नहीं किया जा सकता है, और पूरा होने के बाद कवर पर पेंच करें।

Figure 6
(5) Thermometer seat
ट्रांसफार्मर के तेल की सतह के तापमान वृद्धि को मापने के लिए।मापने के लिए पारा थर्मोमीटर उपयोगकर्ता द्वारा प्रदान किया जाता है।थर्मोमीटर सीट की संरचना चित्र 7 में दिखा दी गई है।तापमान सेंसर सॉकेट ट्रांसफार्मर तेल से भरा है, और जब तेल सतह तापमान वृद्धि मापी जाती है, तो बस कवर खोलें और पारा थर्मोमीटर डालें।मापने के बाद, थर्मोमीटर को बाहर निकालें और कवर को फिर से कसें।

Figure 7
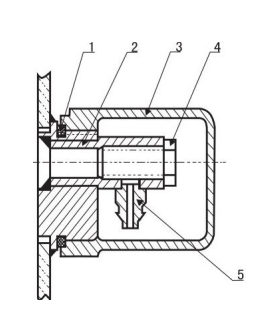
(6) Grounding bolts
एक ग्राउंडिंग बोल्ट ट्रांसफार्मर के समग्र ग्राउंडिंग के लिए टैंक के कम वोल्टेज पक्ष के निचले हिस्से में वेल्डिंग किया जाता है।इसकी संरचना चित्र 8 में दिखा दी गई है।आइटम 2 वॉशर में, घरेलू कनेक्शन ग्राउंडिंग बसबार से जुड़ा हुआ है, और आइटम 3 के बोल्ट को ट्रांसफार्मर के सुरक्षित संचालन को सुनिश्चित करने के लिए कस दिया जाता है।आसान पहचान के लिए, एक जमीनी संकेत है।

Figure 8
(7) Oil flap
तेल ड्रेन वाल्व ट्रांसफार्मर दुर्घटनाओं के लिए ईंधन टैंक के कम वोल्टेज पक्ष की दिशा में या सफाई और सूखा तेल निकालने के लिए स्थापित किया जाता है।

Figure 9

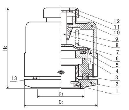
Fully sealed oil-iएमएमersed power transformer component
सीरियल नंबर | Code | Name | quantity | Remarks |
11 | tap-changers | 1 | ||
10 | एसignal thermometer mount | 1 | There are more than 1000केवीA | |
9 | Mercury thermometer holder | 1 | ||
8 | Ground bolt | 1 | ||
7 | Oil sample flap | 1 | ||
6 | ट्रांसफार्मर cabinet | 1 | ||
5 | Gas relays | 1 | There are more than 800केवीA | |
4 | Low pressure casing | 4 | ||
3 | High pressure casing | 3 | ||
2 | Oil level gauge | 1 | ||
1 | Pressure relief valve | 1 |
हम प्रदर्शन, सुरक्षित ऑपरेशन विधियों और ट्रांसफार्मर के तकनीकी पैरामीटर प्रस्तुत करेंगे: एस9 \ एस11 \ एस13 तरल भरा ट्रांसफार्मर